主题
出车安排
本节对应菜单 车辆调度 → 出车排班(页面内多页签:出车排班、ERP 导入、排班列表、批量编辑等)。以下说明预排、出车安排、ERP 导入与排班列表等界面要点;字段与规则见后文。
界面与操作
1. 出车安排(选择当日出车车辆)
在 出车排班 页签中选择日期,使用 出车安排 打开车辆勾选窗口:勾选当日实际出车的车辆;取消勾选已排车辆将删除该车当日的排班与派车相关记录(以系统提示为准)。确认后与主表中的司机、押运员、油库、到站、货品等列联动维护。

主表区域还提供 保存、增加趟次、删除趟次、刷新列表 等与趟次、排班明细相关的操作。
2. ERP 导入
切换到 ERP 导入 页签:选择日期,选择 Excel 上传从 ERP 导出的运费或明细文件,查看系统与 Excel 的匹配情况;对当前日期执行 导入当前日,完成按行匹配后的更新或新增。界面会展示匹配说明、未匹配行提示等(以系统为准)。

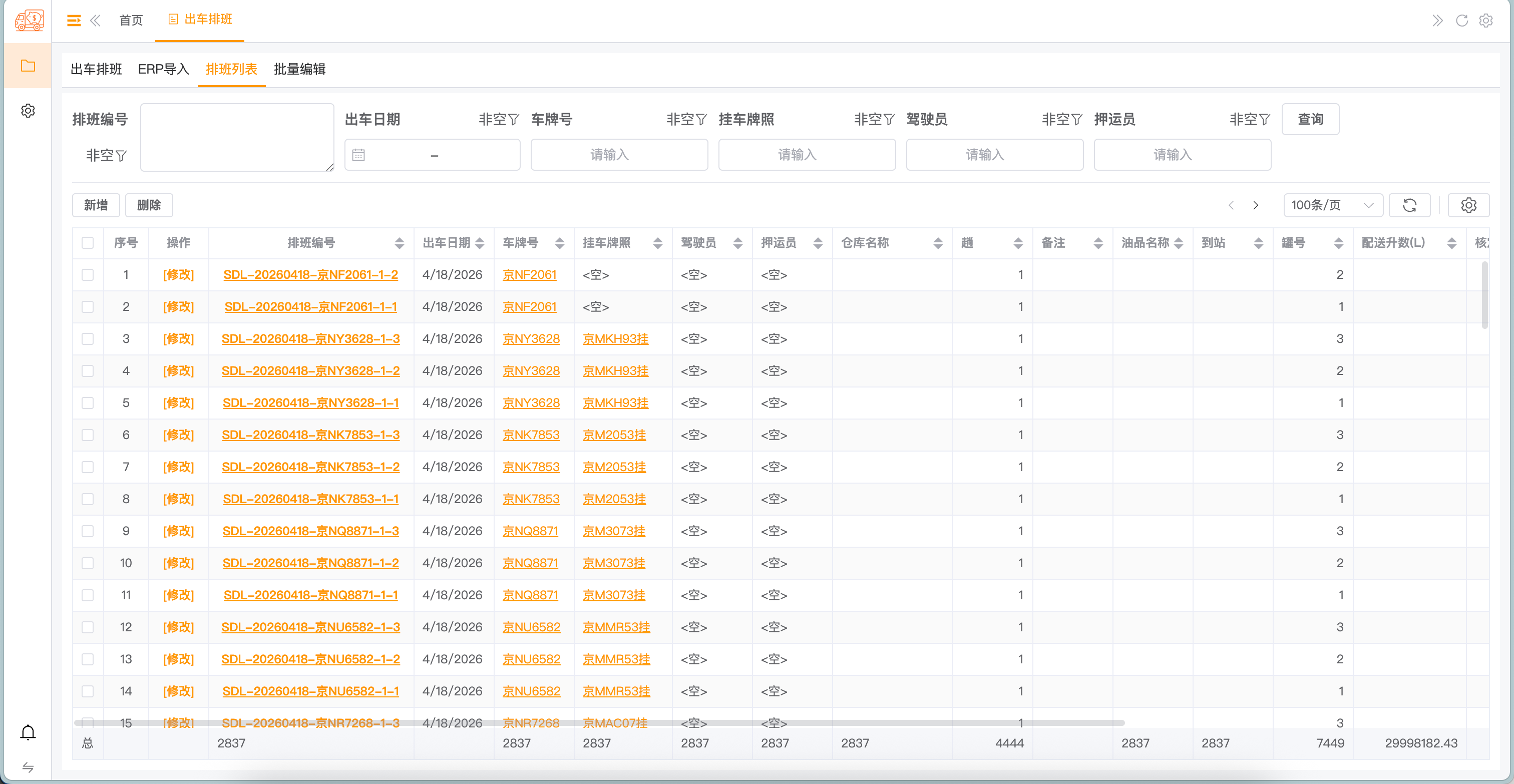
3. 排班列表
在 排班列表 页签中按排班编号、出车日期、车牌、挂车、驾驶员、押运员等条件查询;支持 新增、删除 及行内 修改,用于查询与修正已生成的排班记录。

标准流程
- 当天较晚时间,预排第二天运输计划。
- 第二天根据实际执行情况调整排班。
- 在实际执行计划的次日,将计划内容同步给数据登记。
- 在实际执行计划的次日,从 ERP 导出 Excel 并导入本系统。
核心操作摘要
- 出车安排:勾选当日出车车辆(取消勾选即取消该车当日排班,须谨慎)。
- 增加趟次 / 删除趟次:按车辆调整趟次。
- 保存:保存当前排班表修改。
- ERP:上传 Excel → 导入当前日 → 可切换日期继续导入。
核心字段
调度排班字段包括:用车时间、车辆、挂车、司机、押运员、货品、趟、罐、油库、到站、升数。
以下字段会由基础数据自动带出:用车时间、车辆、挂车、司机、押运员、趟、罐、升数。
